
單級旋片式真空泵結構與工作原理
2012-05-11
單級旋片式真空泵結構與工作原理
旋片式真空泵是目前使用廣泛、生產系列全、深受廣大用戶歡迎的泵種之一。
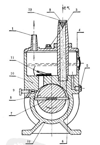
圖1所示為旋片式真空泵的結構。這是一種油封容積型機械真空泵,利用偏心轉子(8)上的活動旋片(6)在泵體(10)空腔內旋轉,使工作容積發生周期性變化,由于工作容積的擴大和縮小,氣體被吸入經壓縮而排出,從而達到抽氣的目的。
裝在轉子槽內的旋片(6),由于彈簧(7)的作用使兩旋片的端面始終緊貼著泵腔,并將泵腔分成A,B,C三個部分,從進氣管(1)到旋片分隔的空間稱空腔A,由兩旋片分隔出的空間為空腔B,排氣閥到旋片分隔的空間為空腔C。而當旋片位于垂直位置時,則把泵腔分成A,C兩個部分。但旋片不管旋到什么位置,它都把進氣管(1)與排氣閥(11)隔開。我們把空腔A稱為吸氣空間,當轉子轉動時,空腔A的體積是逐漸增大的,因而它能把氣體吸進來,與此同時,空腔C的體積逐漸縮小,氣體被壓縮,體積愈小,壓力愈高,當壓力足夠大時,它就能頂開排氣閥門上的簧(閥)片,使被抽氣體穿過密封油層經排氣管(12)排出泵外,空腔C就可稱為排氣空間。排氣閥被油封著,以防大氣返回泵內。
與一般機械泵一樣,旋片式真空泵的轉子和泵體之間及轉子和端蓋之間的間隙是用油封住,以免漏氣。一般小泵是將整個泵體浸入油中,大泵則是采用油封式結構。

上海帕特泵業制造有限公司
2012年05月11日 星期五
下面給大家介紹一下上海帕特泵業制造有限公司生產真空泵相關產品:
1、SK系列水環真空泵 2、2BV系列水環真空泵 3、2X系列旋片真空泵 4、XD系列真空泵
5、SZB懸臂式水環真空泵 6、2XZ系列水環真空泵 7、SZ系列水環真空泵 8、2SK系列水環真空泵
關于 真空泵,離心泵,立式離心泵,管道離心泵,單級雙吸離心泵,臥式離心泵,化工離心泵,多級泵,化工泵,磁力泵,螺桿泵,上海離心泵,水泵,泵 的新聞








